JARL QRPクラブ会報 2019年3月30日発行 vol.61-08

JARL QRPクラブ会報 2019年3月30日発行 vol.61-08
| No. | 2019年2,3月合併号 目次 | コールサイン | 筆者 |
|---|---|---|---|
| 1 | 【運 用】 南の島で冬の命薬の巻 | JR3ELR/1 | 吉本 信之 (Nobuyuki Yoshimoto) |
| 2 | 【運 用】 年の始めは花見からの巻 | JR3ELR/1 | 吉本 信之 (Nobuyuki Yoshimoto) |
| 3 | 【運 用】 遠島流刑の島渡海は大変の巻 | JR3ELR/1 | 吉本 信之 (Nobuyuki Yoshimoto) |
| 4 | 【製 作】 偶然の出会いと努力の連鎖で生まれ変わったμBITX | JJ3BTB | 緒方 貴文 (Takafumi Ogata) |
| 5 | 【製 作】 QRPP 7MHz CW トランシーバーの製作 | JA0IXX | 赤羽 史明 (Fumiaki Akahane) |
| 6 | 【お知らせ】 QRPクラブからお知らせ | JA8IRQ | 福島 誠 (Makoto Fukushima) |
| 7 | 【編集後記】 | JR7SOX | 菊池 弘二 (Kohji Kikuchi) |
| 8 | 【編集後記】 | JA8IRQ | 福島 誠 (Makoto Fukushima) |
【運 用】 南の島で冬の命薬の巻
#0033 JR3ELR/1 吉本 信之
「2019年も娑婆打電するぞ!」の鍵は冬の命薬(ぬちぐすい)にあり。師走の千葉を脱出して南に2000km補陀落渡海。八重山諸島でのんびり打電をやってきました。
1.冬の命薬ってなんねー(何?)
夜明け前の水平線に南十字星が姿を表すと八重山諸島のハブやサソリはひーさよー(寒いよー)と姿を見せなくなくなります。しかし今年は南太平洋高気圧が強くクブシミ(コブシメ)の卵やマンゴー、聖紫花(せいしか)の花に出会えません。その代わりゴバンノアシ(写真1)の花とヒハツモドキで香りの命薬、味覚の命薬は酸っぱくて種だらけの島桑(写真2)の実で2019年の鋭気を充填しています。
2.運用結果(黒島と石垣島)
石垣島第二発電所で生じた発発インバータノイズは黒島、石垣島共にS9+の強度でFT817に回り込みエネループ8本2.5Wで冬枯れの電離層反射を強いられました。(写真3,写真4)結果、黒島で10局、石垣で3局と極めて低調で終わりました。
3.島の無線跡散策
超閑散期は何処も空いていて島内移動が楽です。バンナ岳のテレビ塔の場所にが陸軍電探(写真5)がありました。

【写真5】陸軍電探
平久保岬の遠見台跡は海軍電探(写真6)跡す。どちらも電波が飛びそうなところですがハブがいます。空爆に耐えた地下無線壕は国際農林水産研究センターの中にありますが一般公開していません。写真2の川平湾対岸の岸には海軍特攻ボート震洋の秘匿壕があります。

【写真6】平久保岬の遠見台(海軍電探跡)
新年の島旅打電も琉球諸島の何処かから始めます。200年否、400年打電し続けるぞ!!!!!
de.JR3ELR/1 吉本
【運 用】 年の始めは花見からの巻
#0033 JR3ELR/1 吉本 信之
2019年は先ず琉球花見打電から。沖縄本島で緋寒桜を見ながら花見打電と洒落てはみたものの暖冬で意外な展開に。。。
【暖冬(だからよー)】
これは本島北部東村の山中で育つアラビカ種のコーヒーの中でも黄色のコーヒーチェリーを付けるアマレロの樹です(写真1)。

【写真1】アマレロの樹
この実は果皮果肉共に無味無臭ですが種の周りの渋皮(パーチメント)に僅かな甘味を感じます。暖冬ですねー、4月初旬あたりからてーげーに咲き始めるはずの白い花芽がもう開き始めていました。
次も東村で出会った島鮓(ずし)(写真2)です。

【写真2】島鮓
素材は青鯵(まるあじ)とアカマチ(おなが)です。沖縄の花見時期は一番寒い時期だというのに、こんな三大高級魚の島鮓に遭遇できたというのも暖冬のお蔭です。
※野球のキャンプの時期は高級魚の値段がしにでーだーか(特に上がり)、宿も取り辛くなります。
【釣果】
島鮓でがちまい(食い意地をはる)しているうちに日が沈んでしまい、東村はアンテナの展開ができず運用を断念。次の南部・糸満の宿ではアンテナは展開したもののインバーターノイズに加えて電離層の御機嫌がななめでうっちゃんなげた(へこんで断念)(写真3)。

【写真3】糸満打電
このままでは釣果無しのまま寂しい搭乗になってしまう。坊主では帰れないとひらめいたのが同じく南部にある八重瀬町の桜の名所。八重瀬公園に移動し、緋寒桜の枝に1.5mH/40mLWをひっかけて搭乗時刻に滑り込むまでの5W/30分打電で10MHz/3局、7MHz/5局と急ぎ交信に成功しました。そして二輪とは言えども咲いていたんだから花見打電成立となりました(写真4)。HI

【写真4】八重瀬町打電
【島旅】
我が身の命薬(ぬちぐすい)は島旅。もう少し暖かくなってきたらJR7HAN花野さんに呆れられてますが絶海の火山島で温泉打電するぞ!!
de.JR3ELR/1 吉本
【運 用】 遠島流刑の島渡海は大変の巻
#0033 JR3ELR 吉本 信之
海路渡海をあきらめ空路で喜界島で渡海打電しています。

【図1】喜界島位置図
1.見えているのに遠い島
奄美大島の直ぐ隣だから楽に行けると思っていたら大間違いでした。

【写真1】SAAB 340B型機
喜界島空港は整備不良の特攻機が不時着した頃からずっと目視離着陸です。海霧が出ると双発機のSAABは上空旋回しただけで引き返します。
急峻に海底に沈む海岸線の島は脆弱な防波堤しか造ることができず物資輸送船は風が吹くと接岸を諦めて抜港し次の島へ向かいます。
欠航・欠便・欠品は島の普通です。定時運行と24時間コンビニ生活の当たり前に慣れきった都会の観光客さんは怯えます。隣の奄美大島観光三日間で十分に耐性と免疫を付けてからの渡海を強くお勧めします。
2.島で生きる人のキャパシティーは電気で造る水が決める
海底のプレート同士が琉球海溝で押し合って今も2mm/年の勢いで隆起し続ける泥岩の上に琉球石灰岩が乗った地下構造の島は、雨水が全て地下に抜けてしまい生活水に事欠く島嶼特有の弱点を持ちます。

【写真2】喜界島地勢
この島は人が生きていくために宮古島と同じく地下ダムを造ってサトウキビを主体にした圃場の潅水に使っています。しかし、繁殖牛の堆肥と圃場の化成肥料過多の産物が溶け込む地下ダムの滞留水は、亜硝酸性窒素と腸管出血性大腸菌群や原虫類、カルシウムが主体のアルカリ金属を何とかして減らさないと飲用できません。
極めて高価な水になりますが、A重油燃料の発動発電機で電気透析装置を動かし、飲料できるぎりぎりまで濃度を減らして何とか飲用としています。
150島以上歩いて何度か病院行になった私は島に居る間煮沸水とペットボトル水で過ごしています。
小規模の島嶼の定格発電量は1.1kW~2.5kW/人ですが、この島は2.15kW/人と随分A重油燃料の依存が高い島になります。
3.電探跡と特攻花
宮古島と同じで南端から北に向かって東の太平洋側が急峻な断層が露出し、その最高地点の七島鼻に電探の地下壕が残っています。しかし入り口を塞がれて中に入れませんでした。

【写真3】七島鼻の電探壕跡
空港近くの作戦司令壕跡は発電機換気塔はありますが空中線用の塔が無く別の場所に設けた無線壕まで地上電話で指示をだしていたようです。
現在の1500m滑走路は特攻機が降りた当時の不整地滑走路を破砕した琉球石灰岩で埋め立て舗装し拡張しています。一周してみましたが、特攻花(天人菊)が残っていた場所はこの一角だけで、他には咲いていませんでした。この特攻花の姿が島から消え去ると共に人の記憶も消え去っていこうとしています。
4.釣果
島の南西側には広帯域の巨大な受信施設があります。QRPといえどもできるだけ影
響を減らすため太平洋側からの低角度信号の減衰効果のある丘陵の下、東北海岸で打電してい
ます。この公園では7MHz/5W/14局の釣果でした。

【写真6】東海岸から打電
宿は公園近くの早町にとっています。こちらの釣果は3.5MHz/5W/12局、7MHz/5W/6局でした。

【写真7】宿舎から打電
5.次の島旅は冒険
冬も終わり活火山島の噴煙を見ながら露天風呂打電しても風邪をひかない季節です。また現代版の冒険ダン吉やろうかな。
de.JR3ELR/1 吉本
【編集部から】
吉本さんの離島打電3回分を一挙に公開します。実は吉本さんからは毎月原稿が届くのですが、他の方から投稿がなくて会報が出せないと思っていたら3号分がたまってしまいました。雪がとけたので、私も電波を出す準備をします。(JA8IRQ)
【製 作】 偶然の出会いと努力の連鎖で生まれ変わったμBITX
#0598 JJ3BTB 緒方 貴文
2017年12月にHF SIGNALSのμBITX【写真1,2】をオーダーしました。
その年5月にBitx40を購入していた関係でその後継機であるHF ALL BANDのμBITXに手を伸ばしてしまいました。
基板完成品のためあっけなく完成し、そのままほこりをかぶったままになっていました。
これがその写真です。ほこりは写っていませんが。

【写真1】μBITX
それから1年後の2018年12月、たまたま KD8CEC OM のWebサイトに巡り会いました。
μBITXに使われているRadiunoのFirmwareをCECバージョンとして独自に開発されていました。
その時のバージョンは1.1でした。
CECバージョンのFirmware Ver1.08からVer1.1への主な変更点は以下の内容になります。(KD8CECのブログから抜粋)
- Nextion LCD(TJC LCD)で、μBITX、ADC監視、ATT、IF-ShiftとμBITXの読み込みとバックアップ
- I2Cシグナルメータのサポート
- Nextion LCD (TJC LCD)でCWオプションのスピードコントロール
- Nextion LCD and TJC LCDはスペクトラムとCWデコードが表示可
さらにここには記載されていませんが以前のバージョンでCAT機能が搭載されて
います。FT-817がシミュレーションされます。
変更された機能についてはたくさんあって今ひとつ理解できていません。
そんな中、私的にはNextion LCDのサポートに目が留まりました。
見栄えが素晴らしい。こんなに洗練された画面に変わるんだと思いました。
でも同時に自分でこれを実現するにはかなり難しいだろうとなとも思いました。
いやとても出来ないだろうと。
その後、さらに情報を求めてWebサイトを検索していると「pupのブログ」(JG3PUP)さんにたどり着きました。
CEC Firmware Version1.1にも対応のオペレーションパネル基板が9枚頒布されていました。(μBITX基板のVersion4に対応)【写真3】
JG3PUPさんが基板を設計・発注・製作されたものです。
KD8CEC OMとメールで連絡もされたとのことでした。
2018年年末のその時点で残り1枚でした。手持ちの基板のVersionも確認せずにメールしました。
無事、最後のオペレーションパネル基板を入手することができました。
ついでにアクリルで出来たフロントパネル【写真4】も合わせて入手しました。
オペレーションパネル基板に搭載されている主な回路は CW/SSB Audio Filter、i2c S-meter LCD UNIT、AGC UNIT、AF-AMP UNIT になります。
部品類は指定された購入先に別途注文し、組み立てました。【写真5,6,7,8】

【写真5】オペレーションパネル基板完成
このお二人の努力の連携で私のμBITXは見違えるように生まれ変わりました。
とても気に入っています。

【写真9】Nextion LCD表示の様子
ちなみに私の基板のバージョンはVersion3でした。テストピンの増設とCW1,2のコネクターの増設がなされていただけでした。
そのためRadiunoのLCD取付にスペーサの長さを変更する程度で済みました。
現在は基板がVersion5になっておりKD8CEC OMも 対応 を進めているようです。
なお、JG3PUPさんとは関西ハムシンポジウム2019でアイボールし楽しいひと時を過ごしました。
【編集部から】
写真1と10を比べるとオペレーションパネルのかっこよさが目立ちます。やはりきちんとデザインされたものは違いますね。(JA8IRQ)
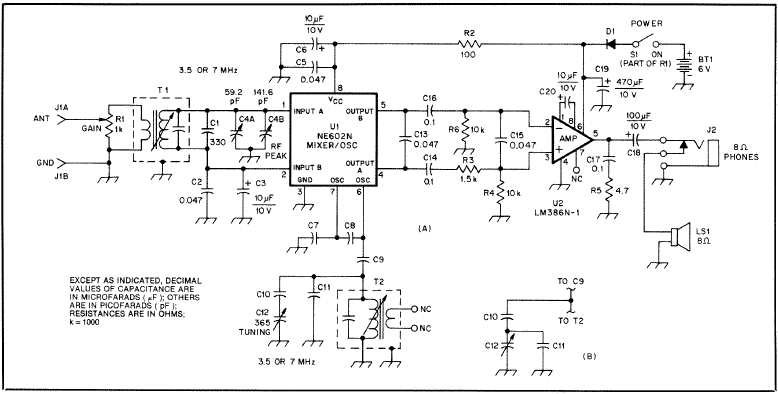
【製 作】 QRPP 7MHz CW トランシーバーの製作
#1111 JA0IXX 赤羽 史明
NXP社のSA612A(Philips NE612セカンドソース:(株)秋月電子通商で購入)を使った簡単なリグを製作したのでレポートします。
NE602/NE612シリーズと聞いて最初に思い浮かぶのがThe Neophyte receiver(QST1988/Feb p.14-18)です。

【図 1】 QSTに掲載されたW3RNC” The Neophyte receiver”の回路図
製作が容易で、周波数安定度も良くMDS(検出感度) は0.5μV以下、と説明されていました。QRPerはじめ多くのシンプル受信機愛好家がこのダイレクトコンバージョン機を試したことでしょう。日本でもCQ誌1988年7月号にJA1ISNが、1989年4月号にJA1AMHがそれぞれ製作記事で紹介しています。
次にスーパーヘテロダイン機ですが、特にNorCalやElecraftなどはこのICを多用しており、パフォーマンスや信頼性には高い評価を与えているように見えます。製品の世代を跨いで使い続けているのは、デバイスコンポーネントとしてしっかり認められている証でしょう。最近はSDRにも使用されていると聞きましたが、頷けそうな話です。
話は真空管の時代に戻りますが、当時の五球スーパーラジオはANT入力端からDET出口までBC帯で50dB、短波7MHz帯では高々35~40dBほどのゲインだったと思います。でもそれにBFOを注入すれば、立派にDXのCWが聞こえました。IF帯域が広いので何局も同時に入感するし、局発のドリフトでビートが動いて行くので「これじゃ苦しいな」と思いながらも、一生懸命「W7?、W6?」とコールサインを拾った覚えがあります。田舎の一ラジオ少年は、殊更に感度を求めるより先ず選択度と周波数安定度の改善をした方が良いと、五球スーパーを通じて実地で学んだ訳です。
既にあれから五十有余年、改めてそれを思い起こし製作した受信機は、4素子型クリスタルフィルタを挟んだ二つのSA612AとAFアンプからなるシンプルな構成で、自分的には「D/C受信機に自励式ヘテロダインコンバータとCW用クリスタルフィルタを付加した現代版CW専用五球スーパー」と考えています。
1.VFO
SA612A内蔵OSC部を使って3MHzのハートレー式VFOを構成しています。最近は良質なFMポリバリコンが入手困難になり、仕方なくバリキャップ式にしました。可変範囲は25kHzで、LCタンクの温度補償も行なっています。電源ON後30分間で250Hz程度初期漂動しますが、その後は10分間で20~30Hzの変動なので十分実用になるレベルです。
【図 2】 SA612Aハートレー型VFOの初期漂動
発振周波数の微調はトリマキャパシタに依らず、トロイダルコアに巻いた巻線の上げ下げだけで行いました。偏りなく全体均一に巻くとインダクタンスは小さくなり、寄せると増えていきますが、このやり方で発振域を上下に50kHzほど動かすことができます。可変域を狙いの3.001~3.026MHzに合わせ込んだ後は、巻線が動かないようにロウで固定します。
コイルを作り、Qを測り、共振周波数やインピーダンスを調整し、また巻き直し・・・この一連の作業は時間も掛かり面倒ですが、アナログ機器製作の中で最も楽しめるプロセスではないでしょうか。いつもそう感じながら共振器やVFO作りエンジョイしています。
【写真 1】 受信Mixer+VFOとXF部、VFOコイルが赤いのは蝋燭がX’masケーキ出身だったから
2.クリスタルフィルタ
使用した水晶はEPSON 製4.000MHz、HC49Uタイプです。受信スプリアス的にはジャスト4メガは避けたいのですが、頂きものが沢山あったので使用しています。
- 予め発振周波数を実測し、相互偏差が50Hz以内の4個を選びました。
- DJ6EVの”Dishal“を使い、BW=300 Hz(リップル0.1dB)のチェビシェフ型フィルタの装荷容量を求めました(モーションパラメータCmは数個実測して平均値を入力)。
- フィルタの入出力インピーダンスは360Ω、それをLマッチでSA612A の入出力(Z=1.5KΩ)に整合させています。
フィルタ単体の測定結果は、中心周波数3.9993MHz、BW(3dB)は狙いより広めの400Hz、通過ロスは3.8dBでした。実際に信号を聞いてみると、4素子とはいえ昔使った国際MF455-03AZ型メカフィルより切れは良い感じです。
【図 3】 チェビシェフ型4素子クリスタルフィルタのパスバンド特性
3.利得配分
ANT端から復調段612A出口までの利得は35dBとローゲインなので、後はAF段で稼ぐことになります。トランス昇圧分で10dB、FETで20dB、LM386で46dB、合計76dBです。
オーディオアンプのLM386は元来シャーシャーした音なので高域だけNFをかけてヒスを押さえ込んでいますが、やり過ぎると位相余裕がなくなってボリュームを上げた時に発振します。
4.AFトランス
カップリングコンデンサで低域をカットするとともに、トランスに抱かせたコンデンサで高域を落としてピークフィルタ的に使うやり方は故高田OM/JA1AMHが紹介されたものです。400~500Hzで緩いピークになっており、そのままの定数でCW用にマッチしています。
【写真 2】 SA612AのプロダクトDET部とAFトランス部クローズアップ
ブレッドボードに組み上げた受信部のゲインはトータル110dBほど。SGで感度測定したところ、検出限界は-20dBμV(-133dBm)で予想を上回る結果となりました(バンド幅400Hz、温度290K、雑音電力-133dBmから求めた本機の雑音指数(NF)はオーバオールで15dBとなります。)。受信感度は、求めていた「現代版CW専用五球スーパー」の性能イメージを十二分にクリアしていると言えそうです。
5.AGC
最初はAGC無しで聞いていましたが、構成が似通ったWilderness Radio SSTの回路図(CQ誌1999/Jan)を見たらDETのNE602にAF/AGCを掛けているので真似してやってみました。ワッチしてみると、これが有ると無いでは大違いで、ダイナミックレンジ40dBほどの簡易型AGCですがとても効果的です。AF Gainボリュームを1/3辺りにセットした場合、LEDが点灯するレベルがちょうど30dBμV(S7)前後なのでSレポートの目安になります。
受信機はこれで完成ですが、VFO安定度は悪くないので、これを利用して一応トランシーバ化してお
くことにします。移動の際は単三電池で運用できる様に、出力は 0.5W(DC12V時)としました。
6. 注入信号
受信初段SA612Aの6ピン(ベース)から微小容量を介してVFO信号を取り出し、ソースフォロワ出口で60mVrmsを得ました。二段LPFを入れたので、高調波は-40dB以下に落ちています。信号は7ピン(エミッタ)から取り出してもOKですが、電圧レベルが大幅に下がりますのでご注意ください。
7. 送信Mixer
1ピンの信号レベルをVR3で35mVrms(-30dBm)に調整したとき、出力に-15dBmの目的信号を得ました。4ピン出力を単純Lマッチで50Ωに整合した時の広帯域スペクトラムデータを添付します。
【図 4】 送信Mixerの出力裸特性/1ピンの3MHz信号注入レベルは‐27dBm
8. BPF
7MHzBPFはBw=250kc(QL=31)、Zin=1.5kΩ、Zout=200Ωで設計してあります。通過損はちょうど1dBでした。フィルタ通過後の送信信号スペクトラムを添付します。
【図 5】 送信Mixer BPF通過後の出力スペクトラム/1ピン注入レベルは-33dBm
9. 電力増幅(出力28.5dBm、gain 43dB)
一段目は一般的な2SC1815でOKですが、当局は手持ちの2N2369A(fT660MHz)を使いました。7MHzでは裸で34dB以上のゲインがあり、-15dBmのドライブで容易に50mW以上の出力が得られますが、自己発振し易かったので電流帰還を掛け28dBまで利得を下げています。
終段も部品箱に残っていたトランジスタを使いました。2SC1303のCクラスアンプはゲインが高く、数mWのドライブで500mWが得られますが、+13dBmで押した時の出力はLPF手前で0.8W、ANT端で0.7Wでした。フィルタロスのため、見かけの効率は0.7W/(13V×0.11A)=48%となっています。終段に一般的なトランジスタを選ぶなら2SC2053パラレルが良いと思います。
10.LPF
ファイナルのコレクタインピーダンスに合わせ、入力側のインピーダンスは100Ωとしてあります。フィルタ通過後のスプリアスは5MHzが-63dB、二倍の14MHzが-65dB、三倍21MHzが-66dBでした。
【図 6】 送信出力スプリアス/第二、第三高調波は-60dB以下
11. Keyingモニタ
SSTのやり方を真似しています。Keying中も受信部をアクティブにして送信信号を直接モニタしますが、下側差動アンプのバイアスを+1.4Vからカットオフ直前の+0.6Vまで引き下げ、ゲインを殺しています。VR4はバイアスの微調用で、モニタ音量調整ができます。
完成品の消費電流は13.5Vで無信号時23mA(本体回路部17mA)、送信キーダウン時165mAでした。

【図 7】 受信部回路図

【写真 5】 ケース寸法は W100×H60×D200 mm
完成の翌日、ALL JA0/7MHzコンテストが開催されていたので参加してみました。JA7TJ を皮切りに一時間ほどで6、8を含んだ十数局とQSO、会報2017年7月号で紹介した共鳴型スピーカーとの相性も良く、運用は快適でした。
最近はcondxが低迷していますが、空中状態が良い日は早朝のEUも夕方のWもしっかり入感してきます。長時間ワッチしても疲れにくいので、送信部はともかくサブ受信機としてオススメです。SDRに飽きたらアナログのシンプルレシーバ、いかがでしょうか。
【編集部から】
原稿ありがとうございます。シンプルかつ高性能、いただき物の水晶を使ったフィルタでばっさり切れる。すばらしいです。手書きの回路図も読みやすいですね。(JA8IRQ)
【お知らせ】 QRPクラブからのお知らせ
#0678 JA8IRQ 福島 誠
★会員継続手続のご案内
QRPクラブの会員は、毎年正員としての会員資格を更新するしくみとなっています。4月以降も正員であることを希望する会員は、QRPクラブのウェブサイトにある『新規入会・会員継続申込』から所定事項・近況報告をご記入の上、申込をお願いします。
住所やメールアドレスなど会員情報に変更がないかたは、記入を簡略化できるようにいたしました。また、申込時に連絡先のメールアドレスにメールを送ることでアドレスの記入ミスがわかるようにしました。
会員継続の手続きがない場合、4月より準員となり会報への投稿や会の活動への参加に制限があります。
なお、近況報告は会員の年1回の活動報告で、会員継続の条件でもありますので忘れずにお書きください。近況報告はメールニュースなど会報に掲載させていただくことがあります。
退会したいという会員は役員会あてメール(qtc@jaqrp.org @は@に修正してください)に退会届を送ってください。
★ QRPクラブに関する連絡先のメールアドレスは以下のとおり
◆ QRPクラブの活動全般についての質問、ご要望、ご意見は qtc@jaqrp.org (@は@に置き換え、以下同じ)までお願いいたします。このメールは役員と監査役に届きます。メールには役員から必ずお返事を出します。
◆ アワード関連についての問い合わせ先はアワード担当へ award@jaqrp.net
◆ コンテストについての問い合わせ先はコンテスト担当へ contest@jaqrp.net
◆ 毎月開催している秋葉原懇親会については1エリア懇親会担当へ ja1@jaqrp.net
◆ 会報への投稿などについては編集部へ qrpnews@jaqrp.net
編集後記&近況報告
#1099 JR7SOX 菊池 弘二
◆最近マニピュレータの動作が変になることがありました。「BK GM UR 5NN BK」が何か違ってモニターされました。腕が悪いせいかも知れません。
どこかから「ヘボ カワレ」と打たれていたのかもしれません。
接点を付箋紙で磨くことで復活しましたが、普段剥き出しなので埃も付くだろうし、接点が酸化して導通が悪くなるんでしょうね。
各局は電鍵やマニピュレータをどのようにメンテナンスされていらっしゃるのでしょうか。
◆古い話で恐縮です。
当局が使っている接点復活剤は古いもので、ホーザン(株)の「Z-294メカトロスプレー」だったものです。(現行製品ではありません)
中身は米国カリフォルニア州WD-40社の高性能潤滑・防錆スプレーなのだそうです。
![]() |
![]() |
| 【写真1】Z-294 メカトロスプレー | 【写真2】メカトロスプレー(正体はWD-40) |
現在「HOZAN Z-294」は「オーバーホールクリーナー」といいバイクチェーンのグリス落としや接点洗浄、基板のフラックス洗浄に使われる洗浄用品だそうです。そして「HOZAN Z-295」が「コンタクトスプレー」で、「接点復活剤として、浸透性潤滑剤としても」利用できる製品ですとのこと。
![]() |
| 【写真3】メカトロスプレー能書き(2番目と3番目の図は今でもHOZAN(株)のwebページにある) |
「WD-40」はWikipediaによると米国カリフォルニア州サンディエゴにあるWD-40 COMPANYの社名であり、製品名でもあるそうだ。類似製品に有名なCRC 5-56がある。
日本ではエステートレーディング社(空気をかえようのグループ会社)の取扱商品として「WD-40」が販売されていて、同社によるとその開発は本邦の戦後アマチュア無線再開の年と同じとのこと。私たちと縁が深い。ただし本家WD-40社の記載では一年後となっています。
このメカトロスプレーは40年以上前に購入したものをボリウムやリレーの接点復活に愛用しています。もちろん普段の浸透性潤滑剤や防錆剤としてはCRC 5-56を多用しています。B-)
編集後記&近況報告
#0678 JA8IRQ 福島 誠
◆最近はラテン音楽の趣味が忙しいのですが、無線でやり残してたことを考えたら50MHzAMのことを思い出しました。
押入れのジャンク箱からはいつかは作ろうと思って買っていたキットがなぜかTX-502が2セット、寺子屋237はキットが一つ、基板がもう1枚出てきました。
受信機用には100円ラジオ用のクリコンキットもありますので、LA1600で簡単なスーパーラジオを作って組み合わせればトランシーバができるでしょう。
無理をしないで送信・受信のVXOを別にしてキャリブレーションを取るようにすれば回路も簡単です。なんとかEスポが出ているうちに完成させたいものです。

【図】押入れから出てきたキット類
◆4月号以降の原稿を募集中です。あなたの実験、製作、運用レポート、小ネタなどを編集部あてお送りください。パソコンが苦手な方は福島あて直接の郵送でもかまいません。(住所はMLや紙版会報などで確認してください。)宛先は qrpnews@jaqrp.net (@は半角@に)です。

























